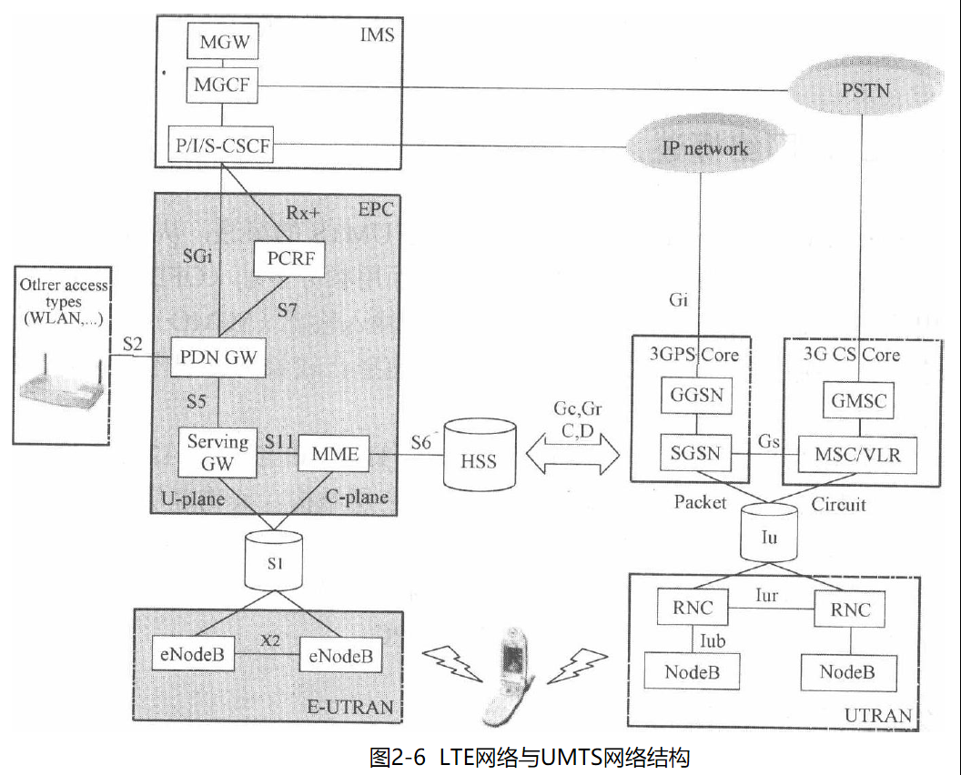
LTE/LTE-Advanced/WiMAX/WirelessMAN-Advanced/HSPA+,5种标准中,LTE发展最热,是3GPP提出的演进标准。 GSM (Global System for Mobile Communications) 意为全球移动通信系统,其开发目的是让全球各地可以共同使用一个移动电话网络标准,让用户使用一部手机就能行遍全球。图2-1为GSM网络架构,由四部分组成。 GPRS (General Packet Radio Service)是通用分组无线业务的简称,能提供比现有GSM网9.6kbps更高的数据速率。GPRS所能提供的数据速率最大为 171.2 kbps (理论值)。图2-2为GPRS网络结构,在GSM系统的基础上,GPRS在无限部分和数据部分都新引入了网络单元。 UMTS(Universal Mobile Telecommunications System, 通用移动通信系统)采用WCDMA空中接口技术,使得频率利用率大大提高,同时调制技术的改善(QPSK),使得UMTS 系统抗干扰的能力加强,UMTS 支持的传输速率高(384 kbps), 可提供丰富的增值服务。UMTS系统可在2.5G网络基础上平滑过渡, 即只需增加无线部分, 而核心网部分基本不变。图2-3为UMTS R99网络结构,可分为三部分:用户终端、无线接入和核心网。 图2-4为UMTSR4网络结构。 UMTS R5/R6/R7网络结构在此处未详细描述。 LTE(Long Term Evolution,长期演进)项目是UMTS的演进,从3GPP R8开始,R9和R10进一步研究和标准化。LTE在空中接口方面用频分多址(OFDM/FDMA)替代了UMTS使用的码分多址(CDMA),并采用MIMO技术和自适应技术提高数据速率和系统性能。 图2-6为LTE网络与UMTS网络。对比UMTS网络 [1] 3G UMTS与4G LTE核心网——CS,PS,EPC,IMS移动核心网基础
1 移动核心网技术发展历程

1.1 第一代移动通信系统:模拟制式的蜂窝移动通信系统
1.2 第二代移动通信系统:数字移动通信系统(又称窄带数字通信系统)
1.3 第三代移动通信系统:IMT-2000(International Mobile Telecommunication-2000)
1.4 第四代移动通信系统
2 移动核心网网络结构
2.1 2G GSM网络
 1)用户端终止无线信道的设备,通过无线空中接口Um给用户提供接入网络业务的能力
 2)由两部分组成:移动设备(Mobile Equipment, ME)和用户识别模块(Subscriber Identity Module, SIM)
 1)提供移动台与移动交换中心之间的链路
 2)由三部分组成:基站控制器(Base Station Controller, BSC)、基站收发台(Base Transceiver Station, BTS)和编码器(Transcoder, XCDR)
 1)具有GSM网络的主要交换功能,还具有用户数据和移动管理所需的数据库
 2)由移动业务交换中心(MSC)、访问位置寄存器(VLR)、归属位置寄存器(HLR)、鉴权中心(AUC)、移动设备识别寄存器(EIR)、互通功能软件(IWF)和回声消除器(EC)等组成
 1)OMS提供在远程管理和维护GSM网络的能力
 2)由两部分组成:网络管理中心(Network Management Center, NMC)和操作维护中心(Operations and Maintenance Center, OMC)
2.2 2.5G GPRS网络
 GPRS的移动台在GSM的基础上添加了一些新的功能。GPRS手机按Class划分
 PCU与BSC协同工作,提供无线数据的处理功能
 1)GPRS 核心网组件包括 GPRS 服务节点 (Serving GPRS Support Node, SGSN)、 GPRS网关节点 (Gateway Support Node, GGSN) 和边界网关 (Border Gateway, BG)。 SGSN 和 GGSN 一起为移动用户提供可靠、安全的数据通道
 2)SGSN相当于GSM 中的MSC, 在 GPRS 服务区内对 MS 进行探测和追踪
 3)GGSN 实现 GPRS 网络与外网的连接,拆封外部数据网信息包到相应的数据网络
 4)BG(Border Gateway)是运营商的分组域核心网之间互连的关口,通过BG 实现运营商之间Gp接口的互通。BG可以做一定的路由和安全策略控制,保障运营商分组域核心网的安全。
2.3 3G UMTS核心网
 由移动设备(Mobile Equipment,ME)和用户识别模块(User Service Identity Module, USIM)组成
 1)一个UTRAN由几个无线网络系统(Radio Network System, RNS)组成
 2)每个RNS由一个无线网络控制器(Radio Network Controller, RNC)和它下面所带的多个Node
 B组成
 从辑上可分成核心网-电路域(Core Network-Circuit Switched, CN-CS),核心网-分组域(Core Network-Packet Switched,CN-PS),以及两者共有部分。
 1)CN-CS域:可以基于2G的MSC平台演进而成,提供电路型业务的连接,支持多速率AMR语音视频业务
 2)CN-PS域:可以基于2.5G的GPRS平台演进而成,提供分组型业务的连接,支持FTP、WWW、VOD、NetTv和Netmeeting等业务
 3)两者共有部分:HLR/AuC,SMS SC(短信中心)和SCP(移动智能网业务控制点)等。
 
 
 
2.4 4G LTE核心网
 1) LTC核心网不再有电路域CS部分,只有分组域EPC,只提供分组业务,对语音业务的实现,LTE可以通过IMS系统实现VoIP业务
 2)EPC中,MME和SGW一起实现了SGSN功能,PGW实现了GGSN功能
 3)EPC实现了控制面与用户面分离,MME实现控制面功能,SGW实现用户面功能
 1)E-UTRAN中不再有3G中的RNC网元,RNC功能分别由eNodeB、核心网MME及SGW等实体实现
 
参考文献
本网页所有视频内容由 imoviebox边看边下-网页视频下载, iurlBox网页地址收藏管理器 下载并得到。
ImovieBox网页视频下载器 下载地址: ImovieBox网页视频下载器-最新版本下载
本文章由: imapbox邮箱云存储,邮箱网盘,ImageBox 图片批量下载器,网页图片批量下载专家,网页图片批量下载器,获取到文章图片,imoviebox网页视频批量下载器,下载视频内容,为您提供.
阅读和此文章类似的: 全球云计算
 官方软件产品操作指南 (170)
官方软件产品操作指南 (170)